Nissan X-Trail e-POWER 2024 Manuali per proprietari
8.2.4.2. Reset del sistema TPMS
Per mantenere il buon funzionamento del sistema TPMS, l'operazione di reset deve essere eseguita nei casi illustrati di seguito:
quando si regola la pressione degli pneumatici
quando si sostituisce uno pneumatico o una ruota
quando si effettua la rotazione degli pneumatici
Per resettare il sistema TPMS, effettuare le seguenti procedure.
Parcheggiare il veicolo in un posto sicuro dal fondo piano.
Azionare il freno di stazionamento e premere il pulsante della posizione P per azionare la posizione P (parcheggio).
Regolare la pressione di tutti e quattro gli pneumatici alla pressione raccomandata a FREDDO, indicata sulla targhetta pneumatici. Usare un manometro per controllare la pressione degli pneumatici.
Portare il pulsante di avviamento in posizione ON.

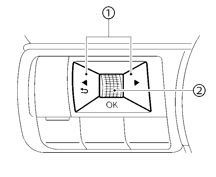
Premere il pulsante
(1) finché non compare [Impostazioni], quindi premere la manopola a scorrimento (2).Utilizzare la manopola a scorrimento (2) fino a selezionare [Pressione pneumatici] e premere la manopola a scorrimento (2).
Utilizzare la manopola a scorrimento (2) fino a selezionare [Reset avvio] e premere la manopola a scorrimento (2).
Utilizzare la manopola a scorrimento (2) fino a selezionare [Sì] e premere la manopola a scorrimento (2) per ripristinare il sistema TPMS.
Dopo aver ripristinato il sistema TPMS, guidare il veicolo per diversi minuti a una velocità superiore a 25 km/h (16 miglia/h).
Se la spia di avvertimento bassa pressione pneumatici si accende dopo aver eseguito la procedura di reset, potrebbe indicare un eventuale guasto al sistema TPMS. Fare controllare il sistema da un concessionario NISSAN o un’officina qualificata.
Per informazioni relative alla spia di avvertimento bassa pressione pneumatici, vedere
.