Nissan X-Trail 2024 Manuali per proprietari
6.8.1. Climatizzatore automatico (modelli senza comandi posteriori)

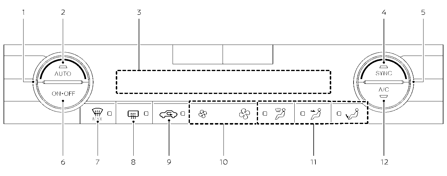
- Manopola di regolazione temperatura (lato conducente)
- Pulsante <AUTO> (automatico)
- Schermata di visualizzazione
- Pulsante <SYNC> (synchronizzazione)
- Manopola di regolazione temperatura (lato passeggero)
- Pulsanet <ON・OFF>
-
Pulsante MAX sbrinatore anteriore -
Pulsante (sbrinatore lunotto) - (Vedere .)
-
Pulsante (ricircolo aria) -
Pulsanti di regolazione velocità di ventilazione - Pulsanti di regolazione flusso aria
- Pulsante <A/C> (condizionatore d’aria)
La disposizione dei pulsanti può variare a seconda del modello e delle specifiche.
Manuali per proprietari