Nissan X-Trail 2024 Manuali per proprietari
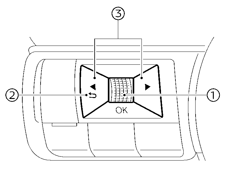
4.5.7. Computer di bordo


Gli interruttori per il computer di bordo sono situati sul lato sinistro del volante.
- Manopola a scorrimento - consente di scorrere le voci e di modificare o selezionare una voce nel display informativo multifunzione
- la manopola permette di scorrere verso l'alto e verso il basso e può essere premuta per effettuare una selezione
- consente di ritornare al menu precedente
- consente di passare da una schermata alla schermata successiva (es. viaggio, consumo carburante)
Le immagini visualizzate possono variare in base al modello.
Manuali per proprietari