Nissan X-Trail 2024 Manuali per proprietari
4.7.1.3. Posizione AUTO
Quando l'interruttore di accensione è in posizione ON e il comando fari è in posizione <AUTO> , i fari, le luci di posizione anteriori, le luci del quadro strumenti, i fanali posteriori e le luci targa si accendono automaticamente in base alla luminosità dell'ambiente circostante.
I fari si accendono automaticamente al tramonto o sotto la pioggia (quando si usa continuamente il tergicristallo).
Portando l'interruttore di accensione su OFF, le luci si spengono automaticamente.

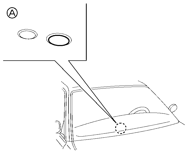
Non posizionare oggetti sul sensore (A). Il sensore rileva il livello di luminosità e controlla il sistema Intelligent Auto Headlight. Perciò, se il sensore è coperto, la condizione rilevata è quella di un ambiente buio e di conseguenza si accendono i fari.
La disposizione nella figura si riferisce al modello con guida a sinistra (LHD). Per il modello con guida a destra (RHD), il sensore è situato sul lato opposto.