Nissan X-Trail 2024 Manuali per proprietari
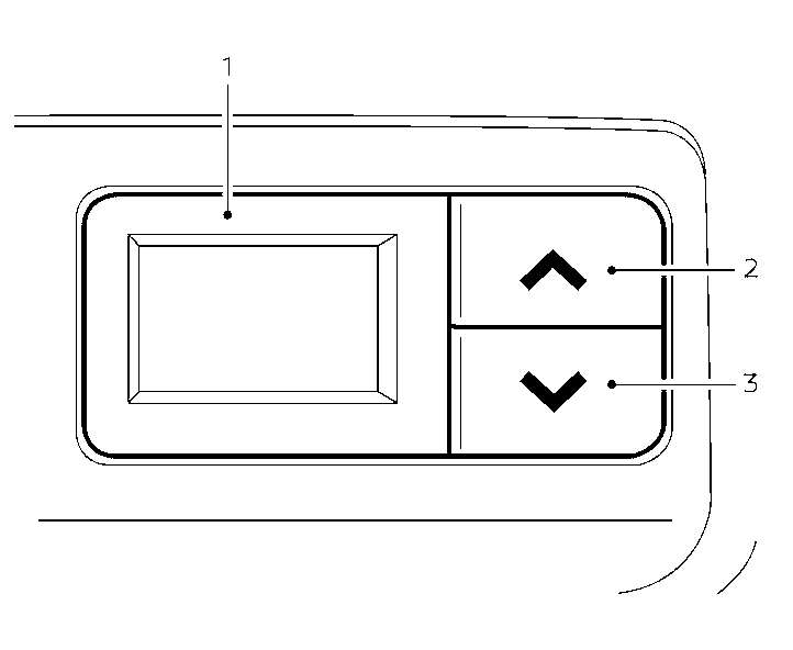
6.8.3.3. Regolazione temperatura vano posteriore

- Display temperatura vano posteriore
Pulsante di aumento temperatura vano posteriore
Pulsante di diminuzione temperatura vano posteriore
È possibile regolare la temperatura per i passeggeri dei sedili posteriori utilizzando i pulsanti situati sul lato posteriore del cassetto della console.
Manuali per proprietari