Nissan X-Trail 2024 Manuali per proprietari
3.5.1.4. Sistema airbag a tendina protezione laterale
Questo sistema serve ad ammortizzare la forza d'urto esercitata sulla testa del conducente e dei passeggeri anteriore e posteriori laterali in determinate collisioni laterali. L'airbag a tendina è progettato per gonfiarsi sul lato del veicolo che subisce l'impatto.
Il sistema SRS è progettato per integrare la protezione contro gli incidenti fornita dalle cinture di sicurezza e non è progettato per sostituirla a queste. Il sistema SRS è un mezzo per salvare vite e ridurre la gravità delle lesioni riportate. Gli airbag tuttavia possono causare abrasioni e lesioni di altro tipo. Gli airbag non forniscono alcun contenimento alla parte inferiore del corpo. Le cinture devono essere sempre correttamente allacciate, e tutti gli occupanti devono sedere ad una distanza appropriata dal volante, dalla plancia e dalle mostrine delle porte. (Vedere
.) Gli airbag si gonfiano tempestivamente per fornire agli occupanti la protezione per cui sono stati progettati. La forza generata dagli airbag durante la loro attivazione può aumentare il rischio di lesioni qualora gli occupanti si trovino troppo vicini o appoggiati ai moduli airbag.Gli airbag anteriori e laterali si sgonfiano rapidamente dopo l'attivazione. L'airbag centrale anteriore di protezione dagli urti laterali e gli airbag a tendina di protezione dagli urti laterali rimangono gonfiati per un breve periodo.
Il sistema SRS può funzionare soltanto con l'interruttore di accensione in posizione ON.
Quando l'interruttore di accensione è in posizione ON, la spia di avvertimento airbag SRS si accende per circa 7 secondi e quindi si spegne. Ciò indica che il sistema SRS è operativo. (Vedere ${1}.)


Gli airbag anteriori di solito non si gonfiano in caso di impatto laterale, tamponamento, ribaltamento o collisione frontale di lieve entità. Indossare sempre le cinture di sicurezza per ridurre il rischio o la gravità di lesioni che si possono riportare nei vari tipi di incidenti.
Le cinture di sicurezza e gli airbag anteriori sono più efficaci se l'occupante è seduto con il busto eretto e ben appoggiato allo schienale. Gli airbag anteriori sviluppano una notevole forza in fase di gonfiaggio. Se l'occupante non indossa la cintura di sicurezza, se è seduto con il busto piegato in avanti o di lato, o se si trova in una posizione comunque scorretta, il rischio di riportare lesioni o di morire in caso di incidente è maggiore. Trovandosi appoggiati all'airbag anteriore al momento del suo gonfiaggio, si possono riportare lesioni gravi o fatali. Appoggiarsi sempre allo schienale del sedile, il più distante possibile dal volante e dalla plancia. Indossare sempre le cinture di sicurezza.
Tenere le mani sul bordo esterno del volante. Tenendo le mani sul bordo interno del volante, il rischio di riportare lesioni in caso di gonfiaggio dell'airbag anteriore è maggiore.






Non permettere che bambini viaggino sul veicolo senza essere legati o che allunghino le mani o la testa fuori dal finestrino. Non tenere in braccio bambini durante la marcia. Le figure riportate mostrano alcuni esempi di posizioni pericolose che si possono assumere durante la marcia.
Un bambino non correttamente allacciato può subire lesioni gravi o morte in seguito all'attivazione dell'airbag.
Non installare mai un seggiolino rivolto nel senso inverso di marcia sul sedile anteriore del passeggero senza prima essersi assicurati che l'airbag del passeggero anteriore è disattivato. L'eventuale gonfiaggio dell'airbag supplementare anti-impatto frontale può ferire il bambino in modo grave o addirittura mortale. (Vedere
.)




Gli airbag supplementare di protezione dagli urti laterali, l'airbag supplementare centrale anteriore di protezione dagli urti laterali e gli airbag supplementari a tendina protezione laterale di solito non si gonfiano in caso di urto frontale, tamponamento, ribaltamento o collisione laterale di lieve entità. Indossare sempre le cinture di sicurezza per ridurre il rischio di lesioni gravi in caso di incidente.
Le cinture di sicurezza e l'airbag supplementare centrale anteriore di protezione dagli urti laterali, gli airbag laterali supplementari e gli airbag a tendina protezione laterale supplementari sono più efficaci se l’occupante è seduto diritto e ben appoggiato allo schienale. L'airbag supplementare centrale anteriore di protezione dagli urti laterali, gli airbag laterali supplementari e gli airbag a tendina protezione laterale supplementari si gonfiano con grande forza. Se l'occupante non indossa la cintura di sicurezza, se è seduto con il busto piegato in avanti o di lato, o se si trova in una posizione comunque scorretta, il rischio di riportare lesioni o di morire in caso di incidente è maggiore.
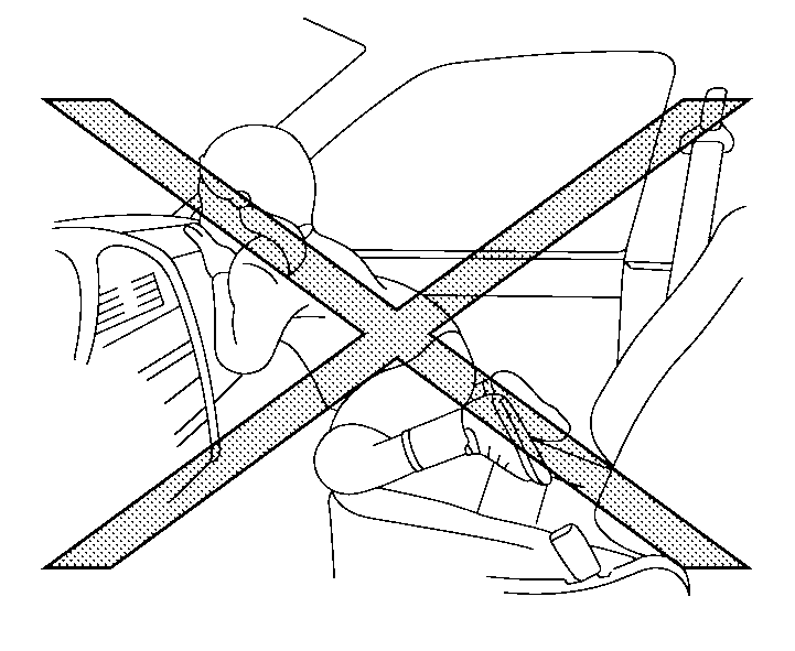
Non permettere a nessuno di tenere le mani, le gambe o il viso vicino all'airbag supplementare centrale anteriore di protezione dagli urti laterali, agli airbag supplementari laterali, agli airbag supplementari a tendina protezione laterale situati al centro dello schienale del sedile del conducente, ai lati dello schienale dei sedili anteriori o vicino ai montanti laterali del tetto. Non consentire ai passeggeri seduti sul sedile anteriore e sui sedili posteriori laterali di allungare le mani fuori dai finestrini o di appoggiarsi alle porte. Le figure riportate mostrano alcuni esempi di posizioni pericolose che si possono assumere durante la marcia.
I passeggeri seduti sui sedili posteriori non devono reggersi allo schienale dei sedili anteriori. Se l'airbag supplementare centrale anteriore di protezione dagli urti laterali, gli airbag laterali supplementari protezione laterale e gli airbag a tendina protezione laterale supplementari si gonfiano, si possono riportare gravi lesioni. Fare molta attenzione in presenza di bambini e accertarsi che siano sempre legati adeguatamente.
Non usare fodere coprisedile non originali sullo schienale dei sedili anteriori. Potrebbero interferire con il gonfiaggio dell'airbag supplementare centrale anteriore di protezione dagli urti laterali e degli airbag laterali supplementari.