Nissan X-Trail 2024 Manuali per proprietari
4.5.2. Come usare il display informativo multifunzione

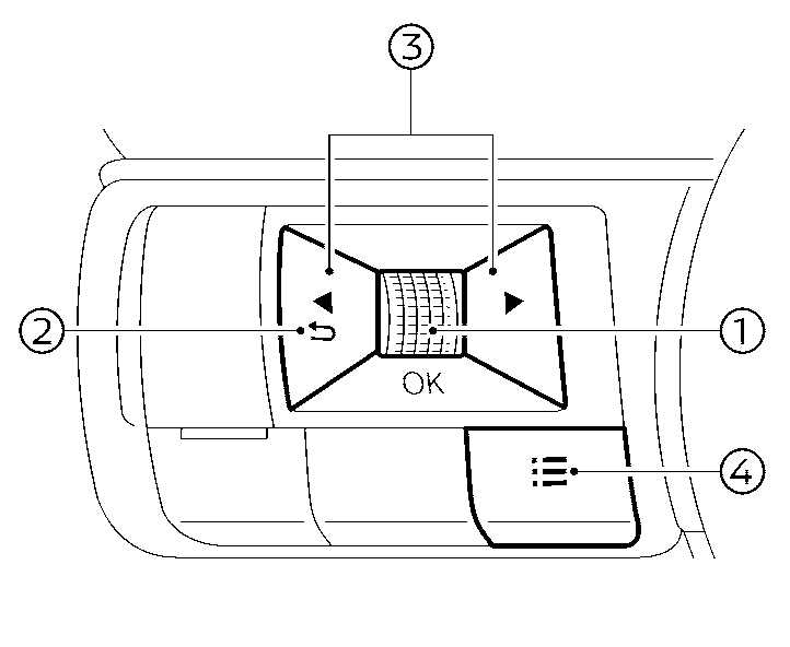
È possibile cambiare le impostazioni per il display informativo multifunzione usando la manopola a scorrimento (1),
(2) e
(3) al volante.
- Manopola a scorrimento - consente di scorrere le voci e di modificare o selezionare una voce nel display informativo multifunzione
- La manopola permette di scorrere verso l'alto e verso il basso e può essere premuta per effettuare una selezione
- consente di ritornare al menu precedente
- consente di passare da una schermata alla schermata successiva (es. viaggio, consumo carburante)
- consente di visualizzare la schermata [Menu scelta rapida]
Manuali per proprietari