Nissan X-Trail 2024 Manuali per proprietari
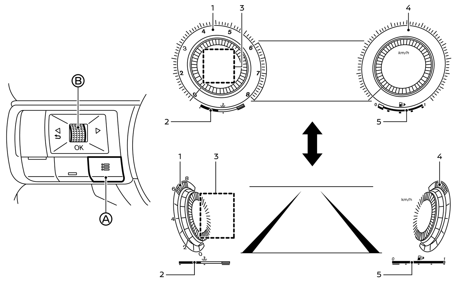
4.3.1.1. Modifica della visualizzazione dello schermo del quadro strumenti (modelli con display a schermo intero)

- Contagiri
- Indicatore temperatura liquido refrigerante motore
- Display personalizzato
- Tachimetro
- Indicatore livello carburante
Per i modelli con display a schermo intero, è possibile modificare la visualizzazione dello schermo del quadro strumenti per espandere l'area del display informativo multifunzione.
Per modificare la visualizzazione del quadro strumenti:
Premere il menu di scelta rapida (A) sul lato sinistro del volante.
[Menu scelta rapida] compare nell'area del display informativo multifunzione.
Selezionare [Cambia visual. strument.] ruotando la manopola a scorrimento (B) e premerla per modificare la visualizzazione.
Manuali per proprietari